最新文章
      Latest Articles

      JJ-5型水泥胶砂搅拌机

  • 时间:2013-05-02 10:51:36
深入了解JJ-5型水泥胶砂搅拌机产品
一、JJ-5型水泥胶砂搅拌机产品简介:
昊宇仪器销售热线:0317-4568809  13832762900   18731760366  QQ:179986750
二、JJ-5型水泥胶砂搅拌机主要规格及技术参数:
1、搅拌叶工作时,自转的同时沿锅周边公转,自转方向为顺时针,公转方向为逆时针。
2、搅拌叶自转和公转各设低速、高速两档速度,其范围为:
低    速:自转 140±5r/min
公转  62±5r/min
高    速:自转 285±10
公转125±10
3、搅拌叶工作程序分自动控制和手动控制两种功能,使用时用哪种功能由装在立柱上的切换开关完成。
  自动控制程序由控制器来完成,其程序为:
低速30S±1S→再低速30S同时自动加砂,砂在30S±1S内全部加完→高速30S±1S→停90S±1S→高速60S±1S。
停止的90S中,在第80S时蜂鸣器报警5S以提醒操作者还要运行高速60S。
手动控制有高速、低速、加砂、停止按钮,分布在立柱上,可由操作者用手来控制完成操作者自订的运行程序。
4、搅拌叶宽度:135mm
5、搅拌叶与搅拌叶轴联接螺纹:M18×1.5
6、搅拌锅容积:5L,壁厚:1.5mm
7、锅的开关与材质符合JC/T681——1997的要求
8、搅拌叶与搅拌锅之间的工作间隙为:3±1mm
9、电动机为立式双速电机,功率为:0.37/0.55KW 8/4P
10、外形尺寸:长×宽×高为600×320×700(mm)
11、净重:71kg
三、JJ-5型水泥胶砂搅拌机的主要结构及工作原理:
1、结构:主要有双速电机、加砂箱、传动箱、主轴、偏心座、搅拌叶、搅拌锅、底座、立柱、支座、外罩、程控器等组成。
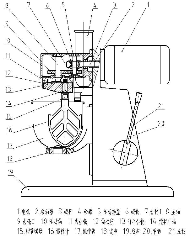
2、工作原理(见图一)
双速电动机(1)通过联轴器(2)将动力传给传动箱(10)内的蜗杆(3)再经蜗轮(6)及一对齿轮(7)和(9)传给主轴(8)并减速。主轴带动偏心座(12)同步旋转,使固定在偏心座(12)上的搅拌叶(16)进行公转。同时搅拌叶通过搅拌叶轴(14)上端的行星齿轮(13)围绕固定的内齿轮(11)完成自转运动。搅拌锅(17)与支座(18)用偏心槽旋转锁紧、砂罐内加砂子后,可在规定时间自动加砂或手动加砂,手柄(20)用于升降和定位搅拌锅位置用。
附图一   主机结构图
四、JJ-5型水泥胶砂搅拌机的安装:
1、拆箱后取下塑料罩,单独把控制箱放在安全的地方,打扫干净后清点装箱单,说明书、合格证及配备件。
2、行星式胶砂搅拌机只要安放在适于水泥试验操作的普通工作台上即可,无需专门固定,但要注意保持水平位置,不要倾斜。
3、将控制箱的电缆与主机插座相连接。


  • 24小时销售热线:400-0017-098
    手机:13832762900